
南京客运APP是南京市客运交通管理处官方推出的行政办公软件,专为客运管理人员打造的一站式移动监管平台。作为南京城市客运交通网的核心应用,该软件集成了车辆管理、人员查询、执法记录等多项实用功能,通过智能化手段大幅提升行业监管效率。无论是传统巡游出租车还是网约车,都能通过这款APP实现全流程数字化管理,让客运执法工作更加规范、高效、便捷,成为南京客运行业不可或缺的现代化管理工具。

南京客运APP主要为南京市客运交通管理处相关业务人员提供传统巡游出租车和网络预约出租车的车辆以及出租行业从业人员的移动监管功能。该应用实现了从线下纸质办公到线上移动办公的转型升级,支持执法人员随时随地开展稽查工作。通过GPS定位、大数据分析等先进技术,可实时掌握全市出租车运营状况,为行业管理决策提供数据支撑。
提供的功能包括车辆查询、行政处罚、从业人员详情、法律等。通过车辆查询入口,执法人员可以快速获取目标车辆的基本信息、运营状态和历史记录。APP提供对查询车辆的稽查录入、违规查询、车辆详情查看、驾驶员信息查询等功能,支持拍照取证、电子签名等执法流程。可录入查处车辆的违法违规信息,并提供违规记录的查询,同时可查看运营车辆的详情信息。系统还具备数据统计分析功能,可自动生成各类监管报表,为管理人员提供决策依据。
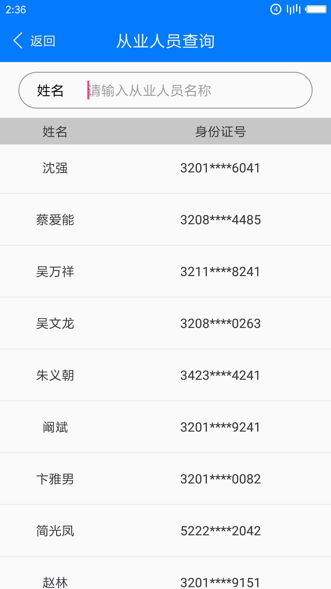
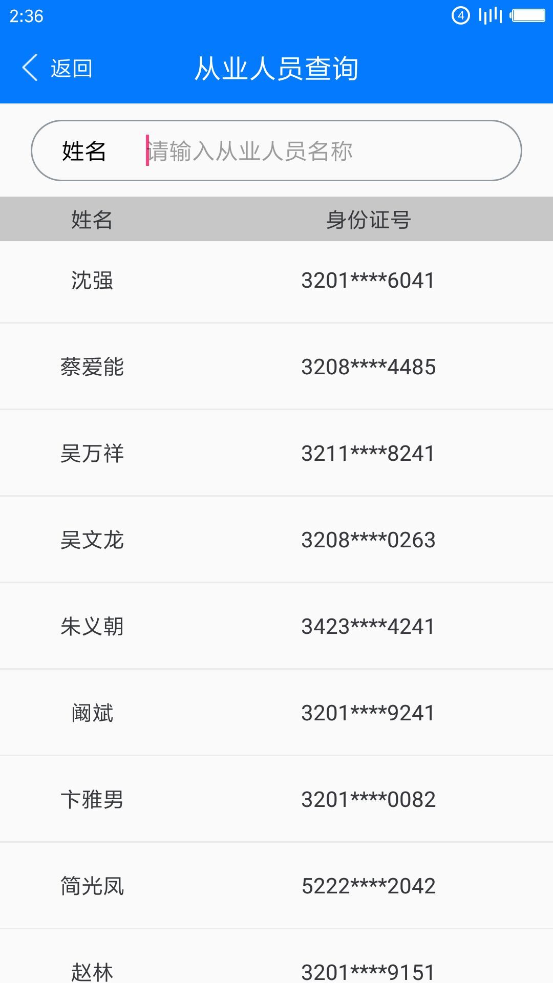
通过行政处罚功能,可查询车辆的行政处罚信息,系统会自动关联相关法律法规条款,确保处罚依据准确无误。通过从业人员查询,可查询当前所有的出租行业的从业人员的详细信息,包括从业资格证、服务评价、投诉记录等关键数据。通过法律法规查询功能,可查看出租行业相关法律法规,系统会定期更新最新政策文件。南京客运APP为出租行业监管业务提供全过程、全方位、高效可靠的管理服务!其特色还包括离线工作模式、数据加密传输、多级权限管理等安全措施,确保执法数据的安全性和可靠性。
"南京客运"——出租客运移动监管的贴身帮手!